Części
Maszyny
Kontakt
Home
Maszyny
Strug
Bosch
STRUG RĘCZNY GHO 10-82
0601594034 -
STRUG RĘCZNY Bosch GHO 10-82
100%
Poz:
2
3
4
5
6
7
9
16
17
19
20
28
29
31
32
33
35
38
40
41
44
46
49
57
58
71
74
75
80
81
201
202
203
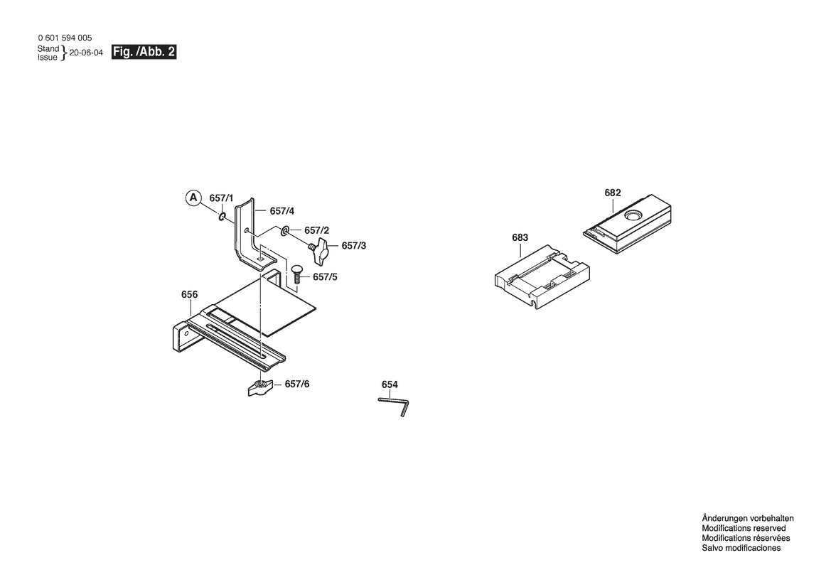
654
656
682
683
801
808
810
814
825
827
837
855
870
46 części
Sortuj
Poz.
Nr kat.
Nazwa
Cena brutto
Ilość
Zamów
2
2609120464
Stojan
67,65 zł
1 szt.
3
2609199270
Twornik
120,79 zł
1 szt.
4
1607200157
Wyłącznik
29,27 zł
1 szt.
5
1604460249
Przewód Zasil. Sieciowy
78,72 zł
1 szt.
6
2600703018
Końcówka
8,36 zł
1 szt.
7
2601035001
Uchwyt Przewodu
5,29 zł
1 szt.
9
2609130735
Tabliczka Firmy
8,49 zł
1 szt.
16
2604449055
Szczotkotrzymacz
7,26 zł
2 szt.
17
2609100087
Pokrywa
4,18 zł
2 szt.
19
2910611020
Wkręt Do Blach
5,29 zł
2 szt.
20
2609110155
Śruba
4,18 zł
1 szt.
28
2609110268
Koło Pasowe
9,72 zł
1 szt.
29
2609110267
Koło Pasowe
13,90 zł
1 szt.
31
2609100410
Pas Klinowy
29,27 zł
1 szt.
32
2609100024
Pokrywa Przekładni
11,19 zł
1 szt.
33
2609110077
Sprężyna Dociskowa
8,49 zł
1 szt.
35
2609100132
Pokrywa Szczotki
18,33 zł
1 szt.
38
2609130205
Naklejka
7,26 zł
1 szt.
40
2609100028
Pierścień Kier. Powietrza
8,49 zł
1 szt.
41
2601329053
Obejma Kontaktowa
5,29 zł
1 szt.
44
2603320004
Nakrętka Czworokątna
5,29 zł
2 szt.
46
2609110058
Płyta Ustawcza
68,63 zł
1 szt.
49
2609100022
Uchwyt Miski
26,69 zł
1 szt.
57
2604448181
PRZEWÓD ŁĄCZĄCY
7,26 zł
1 szt.
58
2604448118
PRZEWÓD ŁĄCZĄCY
5,29 zł
1 szt.
71
2609110064
Szczęki Mocujące
18,33 zł
2 szt.
74
2609110357
NÓŻ STRUGA
31,86 zł
2 szt.
75
2602316001
PIERŚCIEŃ OPOROWY
7,13 zł
2 szt.
80
2609100088
OSŁONA NOŻA
9,72 zł
1 szt.
81
2609110109
Sprężyna
7,26 zł
1 szt.
201
2603433001
Wkręt Soczewkowy Torx
5,29 zł
4 szt.
202
2916069088
Podkładka Sprężysta
5,29 zł
4 szt.
203
2609110084
ŚRUBA MOCUJACA
4,18 zł
6 szt.
654
2607950025
Klucz Kołkowy
9,72 zł
1 szt.
656
2608005015
Wspornik Ogranicznika
33,83 zł
1 szt.
682
2608133002
PRZYSTAWKA DO OSTRZENIA
31,86 zł
1 szt.
683
2607970002
Szablon Do Nastawiania
17,10 zł
1 szt.
801
2609100141
Kadłub Silnika
134,69 zł
1 szt.
808
160111A3H3
Tabliczka Znamionowa
8,36 zł
1 szt.
810
2609120064
Zestaw Szczotek Węglowych
31,86 zł
1 szt.
814
2600905052
Łożysko Kulkowe Zwykłe
26,32 zł
1 szt.
825
2609110174
Kołnierz Łożyskowy
111,93 zł
1 szt.
827
2600905051
Łożysko Kulkowe Zwykłe
Zapytaj
1 szt.
—
837
2609160066
Nakrętka Regulacyjna
20,91 zł
1 szt.
855
2600905064
Łożysko Kulkowe Zwykłe
33,83 zł
1 szt.
870
2609110160
GŁOWICA STRUGA
311,68 zł
1 szt.