Części
Maszyny
Kontakt
Home
Maszyny
Pilarka taśmowa
Bosch
PILARKA TAŚMOWA GCB 120
3601M36070 -
PILARKA TAŚMOWA Bosch GCB 120
100%
Poz:
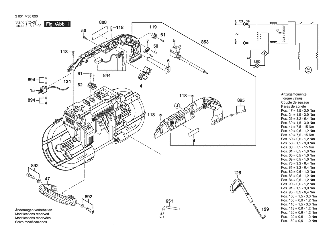
1
2
4
5
6
7
9
12
15
16
17
27
34
40
42
43
46
47
50
57
58
59
60
61
62
63
64
65
70
71
75
80
85
89
90
95
96
97
98
99
103
105
107
108
110
113
114
118
119
123
125
126
128
129
134
135
136
137
138
139
651
803
811
818
820
822
828
829
837
844
848
853
867
872
873
879
886
887
888
889
890
891
892
893
894
895
896
897
898
899
90 części
Sortuj
Poz.
Nr kat.
Nazwa
Cena brutto
Ilość
Zamów
1
1619PA8724
Kadłub Silnika
Zapytaj
1 szt.
—
2
1619PA6855
Stojan
132,84 zł
1 szt.
4
1619PA6425
Wyłącznik
Zapytaj
1 szt.
—
5
1619PA8728
Przewód Zasil. Sieciowy
Zapytaj
1 szt.
—
6
1619PA8731
Końcówka
Zapytaj
1 szt.
—
7
1619PA8733
UCHWYT PRZEWODU
Zapytaj
1 szt.
—
9
1619PA8746
Tabliczka Firmy
Zapytaj
1 szt.
—
12
1619PA9011
Regulator Prędk. Obrotow.
189,30 zł
1 szt.
15
1619PA6426
Przeł. Wejścia/Wyjścia
16,85 zł
1 szt.
16
1619PA8751
Uchwyt Szczotek
20,66 zł
2 szt.
17
1619PA8752
Śruba
4,06 zł
2 szt.
27
1619PA8763
Podkładka Oporowa
4,06 zł
4 szt.
34
1619PA8769
Podkładka
4,06 zł
1 szt.
40
1619PA8775
Trzpień Nastawczy
Zapytaj
1 szt.
—
42
1619PA8777
Śruba Z Łbem Płaskim
4,06 zł
2 szt.
43
1619PA8778
Pierścień Sprężysty
4,06 zł
1 szt.
46
1619PA8781
Drążek Prowadzący
5,29 zł
1 szt.
47
1619PA8782
Uchwyt Dodatkowy
38,87 zł
1 szt.
50
1619PA8785
Śruba Z Łbem Płaskim
Zapytaj
10 szt.
—
57
1619PA8792
Dźwignia
8,36 zł
1 szt.
58
1619PA8793
Trzpień Przegubu
8,36 zł
1 szt.
59
1619PA8794
Podkładka
4,06 zł
1 szt.
60
1619PA8795
Nakrętka Sześciokątna
4,06 zł
1 szt.
61
1619PA8796
Śruba Z Łbem Płaskim
Zapytaj
3 szt.
—
62
1619PA8797
Listwa Zaciskowa
Zapytaj
1 szt.
—
63
1619PA6427
Wyłącznik
Zapytaj
1 szt.
—
64
1619PA8798
Osłona
Zapytaj
1 szt.
—
65
1619PA8799
Śruba Z Łbem Płaskim
Zapytaj
2 szt.
—
70
1619PA8803
Pierścień Kier. Powietrza
Zapytaj
1 szt.
—
71
1619PA8804
Pierścień Gumowy
4,06 zł
1 szt.
75
1619PA8808
Nakrętka Czworokątna
4,06 zł
2 szt.
80
1619PA8813
Kołpak Ochronny
170,48 zł
1 szt.
85
1619PA8818
PROWADNICA SZLIFIERKI
11,07 zł
1 szt.
89
1619PA8822
Płyta Podporowa
8,36 zł
1 szt.
90
1619PA8823
Śruba Z Łbem Sześciokątn.
4,06 zł
4 szt.
95
1619PA8828
ŚRUBA Z GNIAZDEM KRZYŻ.
4,06 zł
2 szt.
96
1619PA8829
Pierścień Sprężysty
4,06 zł
1 szt.
97
1619PA8830
SZCZOTKA WACHLARZOWA
7,13 zł
1 szt.
98
1619PA8831
Uchwyt Szczotek
4,06 zł
1 szt.
99
1619PA8832
Oś Koła
8,36 zł
1 szt.
103
1619PA8835
Płyta Podporowa
11,07 zł
1 szt.
105
1619PA8837
Śruba Z Łbem Płaskim
Zapytaj
2 szt.
—
107
1619PA8838
Pokrywa Szczotki
5,29 zł
2 szt.
108
1619PA8839
Szyba Ochronna
Zapytaj
1 szt.
—
110
1619PA8841
Śruba Ustalająca
Zapytaj
2 szt.
—
113
1619PA8843
Płyta Zabezpieczająca
Zapytaj
1 szt.
—
114
1619PA8844
Wkładka
Zapytaj
1 szt.
—
118
1619PA8848
Śruba Z Łbem Płaskim
Zapytaj
4 szt.
—
119
1619PA8849
Listwa Zaciskowa
Zapytaj
1 szt.
—
123
1619PA8853
PŁYTA OCHRONNA
9,59 zł
1 szt.
125
1619PA8855
Etykietka Przyklejana
Zapytaj
1 szt.
—
126
1619PA8856
Etykietka Przyklejana
Zapytaj
1 szt.
—
128
1619PA8857
KLUCZ NASADOWY
5,29 zł
1 szt.
129
1619PA8858
WKRĘTARKA
Zapytaj
1 szt.
—
134
1619PA8863
PRZEWÓD ŁĄCZĄCY
Zapytaj
1 szt.
—
135
1619PA8864
PRZEWÓD ŁĄCZĄCY
Zapytaj
1 szt.
—
136
1619PA8865
PRZEWÓD ŁĄCZĄCY
4,06 zł
1 szt.
137
1619PA8866
PRZEWÓD ŁĄCZĄCY
Zapytaj
2 szt.
—
138
1619PA8867
PRZEWÓD ŁĄCZĄCY
Zapytaj
1 szt.
—
139
1619PA8868
PRZEWÓD ŁĄCZĄCY
4,06 zł
2 szt.
651
1619PA8904
Sześciokątny Klucz Nasad.
Zapytaj
1 szt.
—
803
1619PA8870
Zestaw Mocujący
235,67 zł
1 szt.
811
1619PA8872
Zestaw Szczotek Węglowych
53,26 zł
1 szt.
818
1619PA8873
Kołpak Ochronny
Zapytaj
1 szt.
—
820
1619PA8875
Koło Napędowe
59,53 zł
1 szt.
822
1619PA8876
Most Łożyskowy
53,26 zł
1 szt.
828
1619PA8877
PRZEKŁADNIA CZOŁOWA
170,48 zł
1 szt.
829
1619PA8878
Tarcza zwrotna
67,65 zł
1 szt.
837
1619PA8879
Mechanizm Mocujący
38,87 zł
1 szt.
844
1619PA8880
Zestaw Przeciwzakłóceni.
Zapytaj
1 szt.
—
848
1619PA8881
Kołpak Ochronny
145,39 zł
1 szt.
853
1619PA8883
Uchwyt
Zapytaj
1 szt.
—
867
1619PA8884
Lampa LED
97,79 zł
1 szt.
872
1619PA8885
Zestaw Kół Zębatych
189,30 zł
1 szt.
873
1619PA8886
Most Łożyskowy
53,26 zł
1 szt.
879
1619PA8888
Zestaw Kół Zębatych
145,39 zł
1 szt.
886
1619PA8889
KOMPLET ŚRUB
4,06 zł
1 szt.
887
1619PA8890
KOMPLET ŚRUB
4,06 zł
1 szt.
888
1619PA8891
KOMPLET ŚRUB
7,13 zł
1 szt.
889
1619PA8892
KOMPLET ŚRUB
4,06 zł
1 szt.
890
1619PA8893
KOMPLET ŚRUB
4,06 zł
1 szt.
891
1619PA8894
KOMPLET ŚRUB
Zapytaj
1 szt.
—
892
1619PA8895
KOMPLET ŚRUB
4,06 zł
1 szt.
893
1619PA8896
KOMPLET ŚRUB
4,06 zł
1 szt.
894
1619PA8897
KOMPLET ŚRUB
Zapytaj
1 szt.
—
895
1619PA8898
KOMPLET ŚRUB
Zapytaj
1 szt.
—
896
1619PA8899
KOMPLET ŚRUB
4,06 zł
1 szt.
897
1619PA8900
KOMPLET ŚRUB
Zapytaj
1 szt.
—
898
1619PA8901
KOMPLET ŚRUB
4,06 zł
1 szt.
899
1619PA8902
KOMPLET ŚRUB
4,06 zł
1 szt.