Części
Maszyny
Kontakt
Home
Maszyny
Osprzęt
Bosch
Otwornica Pw *PW-STICHSAEGE
0607551106 -
Otwornica Pw Bosch *PW-STICHSAEGE
100%
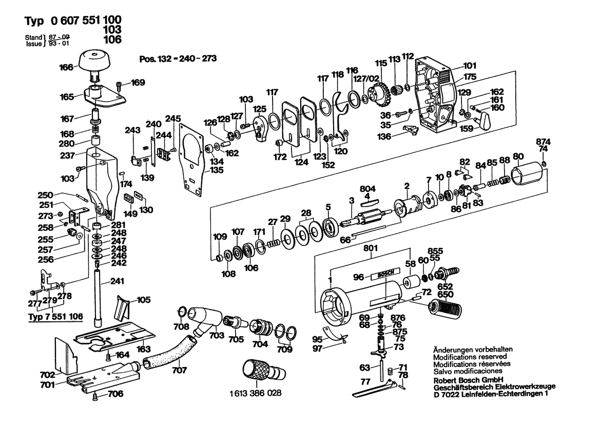
Poz:
2
3
5
7
8
10
27
28
29
35
36
58
60
63
66
68
69
71
72
73
77
78
80
81
82
83
84
85
88
95
96
97
101
103
105
106
107
108
109
112
113
115
116
117
118
120
123
124
125
126
127
128
129
130
134
135
136
149
152
159
160
161
162
163
164
165
166
167
168
169
171
172
174
175
237
239
240
241
242
243
244
245
246
247
248
250
251
255
256
257
258
273
280
281
650
652
656
701
702
703
704
705
706
707
708
709
801
804
855
875
876
111 części
Sortuj
Poz.
Nr kat.
Nazwa
Cena brutto
Ilość
Zamów
2
3604090003
Stojan
349,69 zł
1 szt.
3
3604220024
Wirnik
Zapytaj
1 szt.
—
5
3605500005
Pokrywa Łożyska
Zapytaj
1 szt.
—
7
3605700007
Kołnierz Łożyskowy
251,90 zł
1 szt.
8
2600905032
Łożysko Kulkowe
16,85 zł
1 szt.
10
2600202014
Pierścień Dystansowy
33,83 zł
1 szt.
27
1604616017
Sprężyna Dociskowa
9,59 zł
1 szt.
28
2916160012
Sprężyna Talerzowa
Zapytaj
2 szt.
—
29
3600102000
Pierścień Zakrywający
Zapytaj
1 szt.
—
35
2916690003
Pierścień Sprężysty
4,06 zł
3 szt.
36
2910021126
Śruba Z Łbem Walcowym
4,06 zł
3 szt.
58
3603373000
Króciec Przyłączeniowy
Zapytaj
1 szt.
—
60
3600002000
Sito
8,36 zł
1 szt.
63
3604710019
Kołek Walcowy
Zapytaj
1 szt.
—
66
3604710024
Kołek Walcowy
Zapytaj
1 szt.
—
68
3603212000
Grzybek Zaworu
Zapytaj
1 szt.
—
69
3604643003
Sprężyna Dociskowa
5,29 zł
1 szt.
71
1604611004
Sprężyna Dociskowa
8,36 zł
1 szt.
72
2917530080
Kołek Walcowy
Zapytaj
1 szt.
—
73
3600313000
Tłok Sterowniczy
Zapytaj
1 szt.
—
77
3601902001
Dźwignia Zmiany Biegów
18,08 zł
1 szt.
78
2917700040
Kołek Karbowy Z Przetycz.
7,13 zł
1 szt.
80
3605190063
Obudowa Regulatora
Zapytaj
1 szt.
—
81
3602125000
Wspornik Przeciwwagi
97,79 zł
1 szt.
82
3602190004
Przeciwwaga
7,13 zł
4 szt.
83
1903201002
Rolka Igłowa
4,06 zł
2 szt.
84
3600322000
Tuleja Regulacyjna
Zapytaj
1 szt.
—
85
3604612001
Sprężyna Dociskowa
7,13 zł
1 szt.
88
3600361000
Tuleja Gwintowana
9,59 zł
1 szt.
95
160111A3H5
Tabliczka Znamionowa
8,36 zł
1 szt.
96
1601110481
Tabliczka Firmy
7,13 zł
2 szt.
97
3603133000
Nitokołek
7,13 zł
2 szt.
101
2605808909
Obudowa Przekładni
Zapytaj
1 szt.
—
103
2603410049
Śruba Do Gwint. Bezwiórk.
5,29 zł
6 szt.
105
2605500017
Pokrywa Obudowy
Zapytaj
1 szt.
—
106
2600905007
Łożysko Kulkowe Zwykłe
Zapytaj
1 szt.
—
107
2600500008
Podkładka
Zapytaj
1 szt.
—
108
2600108020
Pierścień Filcowy
Zapytaj
1 szt.
—
109
3600400006
Tuleja Wciskana
Zapytaj
1 szt.
—
112
2600101616
Podkładka Regulacyjna
9,59 zł
1 szt.
113
3600913003
Wieniec Iglic
Zapytaj
1 szt.
—
115
2606320016
Koło Zębate Mimośrodu
Zapytaj
1 szt.
—
116
2600102653
Podkładka Regulacyjna
5,29 zł
1 szt.
117
2600102652
Podkładka Regulacyjna
5,29 zł
2 szt.
118
2601923000
Dźwignia Widlasta
Zapytaj
1 szt.
—
120
2600100515
Podkładka Regulacyjna
5,29 zł
1 szt.
123
2600100625
Podkładka Regulacyjna
8,36 zł
1 szt.
124
2601015030
Obciążenie Wyrównawcze
Zapytaj
2 szt.
—
125
2601072901
Mimośród
26,32 zł
1 szt.
126
2603101035
Kołek Walcowy
8,36 zł
1 szt.
127
2600100575
Podkładka Regulacyjna
7,13 zł
1 szt.
128
2916080910
Podkładka Zabezpieczająca
4,06 zł
1 szt.
129
2916080908
Podkładka Zabezpieczająca
4,06 zł
1 szt.
130
2601015002
Płyta Mocująca
Zapytaj
1 szt.
—
134
3600910003
Łożysko Igiełkowe
Zapytaj
1 szt.
—
135
2601015039
Płytka Uszczelniająca
Zapytaj
1 szt.
—
136
2602389001
Tuleja Łożyskowa
Zapytaj
1 szt.
—
149
2601015032
Płytka Uszczelniająca
Zapytaj
1 szt.
—
152
2916080007
Podkładka Zabezpieczająca
7,13 zł
1 szt.
159
2607200042
Uchwyt Wyłącznika
Zapytaj
1 szt.
—
160
2604611023
ATRAPA
Zapytaj
1 szt.
—
161
2600506002
Tuleja Ustalająca
Zapytaj
1 szt.
—
162
2600100568
Podkładka Regulacyjna
5,29 zł
2 szt.
163
2601016045
Podstawa
Zapytaj
1 szt.
—
164
2910501152
Wkręt Z Łbem Stożk. Płas.
Zapytaj
3 szt.
—
165
2605702000
Króciec Kołnierzowy
Zapytaj
1 szt.
—
166
2603231002
Rękojeść
48,83 zł
1 szt.
167
2600421000
Tuleja Ustalająca
26,32 zł
1 szt.
168
2604616001
Sprężyna Dociskowa
5,29 zł
1 szt.
169
2914501015
Śruba Kombi
Zapytaj
2 szt.
—
171
2916660010
Pierścień Zabezpieczajacy
4,06 zł
1 szt.
172
2600309009
Tulejka Dystansowa
5,29 zł
1 szt.
174
1903201042
Rolka Igłowa
7,13 zł
2 szt.
175
2601110055
Tabliczka Naklejana
13,65 zł
1 szt.
237
2605808901
Pokrywa Przekładni
Zapytaj
1 szt.
—
239
2604613000
Sprężyna Dociskowa
5,29 zł
4 szt.
240
2601032014
Listwa Prowadząca
Zapytaj
2 szt.
—
241
2600780913
Drążek Podnoszący
Zapytaj
1 szt.
—
242
2603400000
Śruba Zaciskowa
9,59 zł
1 szt.
243
2602329011
Pałąk Zaciskowy
11,07 zł
1 szt.
244
2601321022
Ślizg
Zapytaj
1 szt.
—
245
2603421040
Wkręt Z Łbem Stożk. Płas.
5,29 zł
2 szt.
246
2600101612
Podkładka Regulacyjna
5,29 zł
1 szt.
247
2600290017
Pierścień Uszczelniający
5,29 zł
1 szt.
248
2600112031
Tarcza Oporowa
5,29 zł
2 szt.
250
2603105015
Sworzeń Lożyska
Zapytaj
1 szt.
—
251
2607001018
Dźwignia Rolkowa
Zapytaj
1 szt.
—
255
2600326900
Rolka Kierunkowa
Zapytaj
1 szt.
—
256
2603105022
Kołek Gwintowany
Zapytaj
1 szt.
—
257
2600100510
Podkładka Regulacyjna
5,29 zł
2 szt.
258
2916080906
Podkładka Zabezpieczająca
4,06 zł
2 szt.
273
2915051104
Nakrętka Sześciokątna
Zapytaj
1 szt.
—
280
2600301046
Tuleja Spiekana
11,07 zł
1 szt.
281
2600301045
Tuleja Łożyskowa
9,59 zł
1 szt.
650
3607000074
Tłumik Dźwięku
86,35 zł
1 szt.
652
2603386002
Króciec Do Węża
16,85 zł
1 szt.
656
1609209265
Śrubokręt
Zapytaj
1 szt.
—
701
3608005000
RAMKA
Zapytaj
1 szt.
—
702
2601320020
Pokrywa
Zapytaj
1 szt.
—
703
3605110029
Obudowa Przyłączeniowa
Zapytaj
1 szt.
—
704
3603373001
Króciec Przyłączeniowy
Zapytaj
1 szt.
—
705
3600363004
Dysza Nadmuchowa
Zapytaj
1 szt.
—
706
2910771162
Wkręt Z Łbem Stożk. Płas.
Zapytaj
3 szt.
—
707
3600707000
Wąż Pcw
Zapytaj
1 szt.
—
708
1820209002
null
Zapytaj
1 szt.
—
709
1610210045
Pierścień Samouszczeln.
8,36 zł
2 szt.
801
3605102030
Kadłub Silnika
Zapytaj
1 szt.
—
804
3607030248
Grupa Części Zamiennych
97,79 zł
1 szt.
855
1900210306
Pierścień Samouszczeln.
4,06 zł
1 szt.
875
3607010000
Zestaw Części
18,33 zł
1 szt.
876
3607010023
Zestaw Części
18,08 zł
1 szt.