Części
Maszyny
Kontakt
Home
Maszyny
Osprzęt
Bosch
Przekładnia Nasadowa ----
0607900100 -
Przekładnia Nasadowa Bosch ----
100%
Poz:
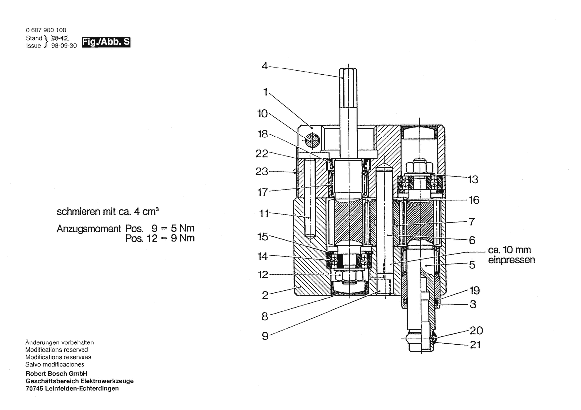
1
2
3
4
5
6
7
8
9
10
11
12
13
14
15
16
17
18
19
20
21
22
23
700
24 części
Sortuj
Poz.
Nr kat.
Nazwa
Cena brutto
Ilość
Zamów
1
2602382004
Obudowa Przyłączeniowa
Zapytaj
1 szt.
—
2
2602382003
Obudowa Przyłączeniowa
Zapytaj
1 szt.
—
3
2600300061
Tuleja Prowadząca
Zapytaj
1 szt.
—
4
2603160079
Wał Zębaty
Zapytaj
1 szt.
—
5
2603160080
Wał Zębaty
Zapytaj
1 szt.
—
6
2603100026
Sworzeń Lożyska
Zapytaj
1 szt.
—
7
2606317005
Koło Zębate Czołowe
Zapytaj
1 szt.
—
8
2600508021
Korek
Zapytaj
2 szt.
—
9
2910141170
Śr.Z Łb.Okr.O Gnieź.Sześ.
8,36 zł
2 szt.
10
2910141166
Śr.Z Łb.Okr.O Gnieź.Sześ.
5,29 zł
1 szt.
11
2917500101
Kołek Walcowy
5,29 zł
1 szt.
12
2915011006
Nakrętka Sześciokątna
Zapytaj
2 szt.
—
13
2916011012
Podkładka
4,06 zł
2 szt.
14
1900900232
Łożysko Kulkowe Zwykłe
43,91 zł
2 szt.
15
2916660003
Pierścień Zabezpieczajacy
5,29 zł
2 szt.
16
2600100607
Podkładka Regulacyjna
5,29 zł
2 szt.
17
2600910001
Łożysko Igiełkowe
13,65 zł
2 szt.
18
2600283007
Pierścień Uszczelniający
Zapytaj
1 szt.
—
19
2600210016
Pierścień Samouszczeln.
Zapytaj
1 szt.
—
20
1903230003
Kula
7,13 zł
3 szt.
21
1600224011
Pierścień Sprężysty
Zapytaj
1 szt.
—
22
2601105008
Tabliczka Znamionowa
Zapytaj
1 szt.
—
23
2917724031
Nitokołek Z Łbem Półokr.
Zapytaj
2 szt.
—
700
2600461016
Tuleja Gwintowana
Zapytaj
1 szt.
—