Części
Maszyny
Kontakt
Home
Maszyny
Osprzęt
Bosch
Przekładnia Nasadowa ----
0607901100 -
Przekładnia Nasadowa Bosch ----
100%
Poz:
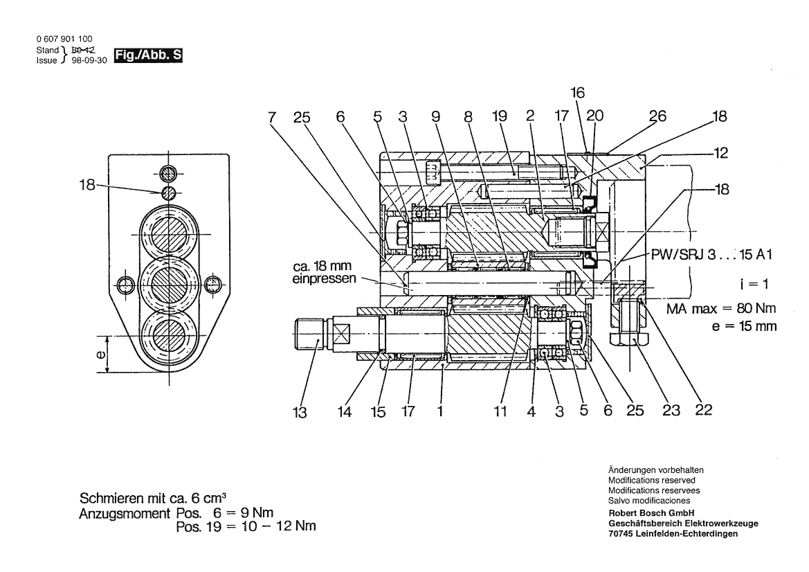
1
2
3
4
5
6
7
8
9
11
12
13
14
15
16
17
18
19
20
22
23
25
26
23 części
Sortuj
Poz.
Nr kat.
Nazwa
Cena brutto
Ilość
Zamów
1
2602382002
Obudowa Przyłączeniowa
Zapytaj
1 szt.
—
2
2603160078
Wał Zębaty
Zapytaj
1 szt.
—
3
3600905003
Łożysko Kulkowe Zwykłe
Zapytaj
4 szt.
—
4
2916660007
Pierścień Zabezpieczajacy
8,00 zł
1 szt.
—
5
2916011014
Podkładka
8,00 zł
2 szt.
—
6
2915011007
Nakrętka Sześciokątna
8,00 zł
2 szt.
—
7
2603100027
Sworzeń Lożyska
Zapytaj
1 szt.
—
8
2600913029
Łożysko Igiełkowe
Zapytaj
3 szt.
—
9
2606317004
Koło Zębate Czołowe
Zapytaj
1 szt.
—
11
2600101649
Podkładka Regulacyjna
Zapytaj
2 szt.
—
12
2602382001
Obudowa Przyłączeniowa
Zapytaj
1 szt.
—
13
2603160077
Wał Zębaty
Zapytaj
1 szt.
—
14
2600210017
Pierścień Samouszczeln.
Zapytaj
1 szt.
—
15
2600300060
Tuleja Prowadząca
Zapytaj
1 szt.
—
16
3603133000
Nitokołek
12,00 zł
2 szt.
—
17
2600914001
Łożysko Igiełkowe
Zapytaj
2 szt.
—
18
2917500157
Kołek Walcowy
Zapytaj
2 szt.
—
19
2910140213
Śr.Z Łb.Okr.O Gnieź.Sześ.
Zapytaj
3 szt.
—
20
2600283006
Pierścień Uszczelniający
Zapytaj
1 szt.
—
22
2602305035
Element Dociskowy
Zapytaj
1 szt.
—
23
2911051236
Śruba Z Łbem Sześciokątn.
Zapytaj
1 szt.
—
25
2600508024
Korek
Zapytaj
2 szt.
—
26
2601105008
Tabliczka Znamionowa
Zapytaj
1 szt.
—