Części
Maszyny
Kontakt
Home
Maszyny
Narzędzia
DeWalt
Narzędzie
DW252-----E-Type-1 -
Narzędzie DeWalt
100%
Poz:
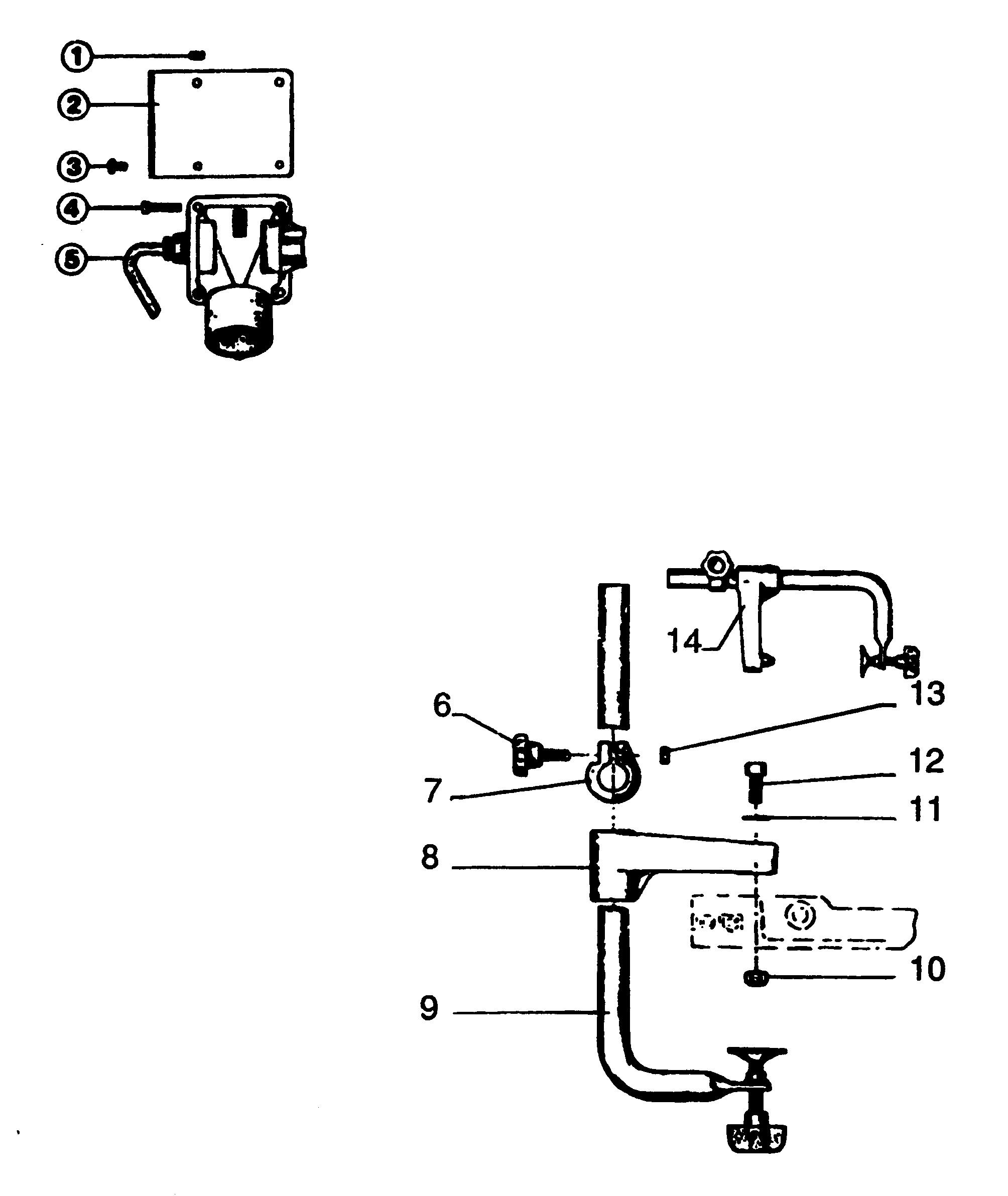
1
3
4
5
6
7
8
9
10
11
12
13
12 części
Sortuj
Poz.
Nr kat.
Nazwa
Cena brutto
Ilość
Zamów
1
860083-02
Nakrętka
7,00 zł
1 szt.
—
3
860093-17
Śruba
Zapytaj
1 szt.
—
4
11322
Śruba
Zapytaj
1 szt.
—
5
44588
Drop Volt Device
Zapytaj
1 szt.
—
6
862799-00
Gałka - Podzespół
Zapytaj
1 szt.
—
7
76150
Taśma
Zapytaj
1 szt.
—
8
76144
Podpora
Zapytaj
1 szt.
—
9
197955
Attach Complete
Zapytaj
1 szt.
—
10
860092-01
Nakrętka
7,00 zł
1 szt.
—
11
860074-03
Podkładka
7,00 zł
1 szt.
—
12
860093-07
Śruba
7,00 zł
1 szt.
—
13
860083-03
Nakrętka
7,00 zł
1 szt.
—