Części
Maszyny
Kontakt
Home
Maszyny
Narzędzia
DeWalt
Narzędzie
EDE503-Type-1 -
Narzędzie DeWalt
100%
Poz:
1
3
4
5
6
7
8
9
10
11
12
13
14
15
21
22
23
24
31
32
33
34
35
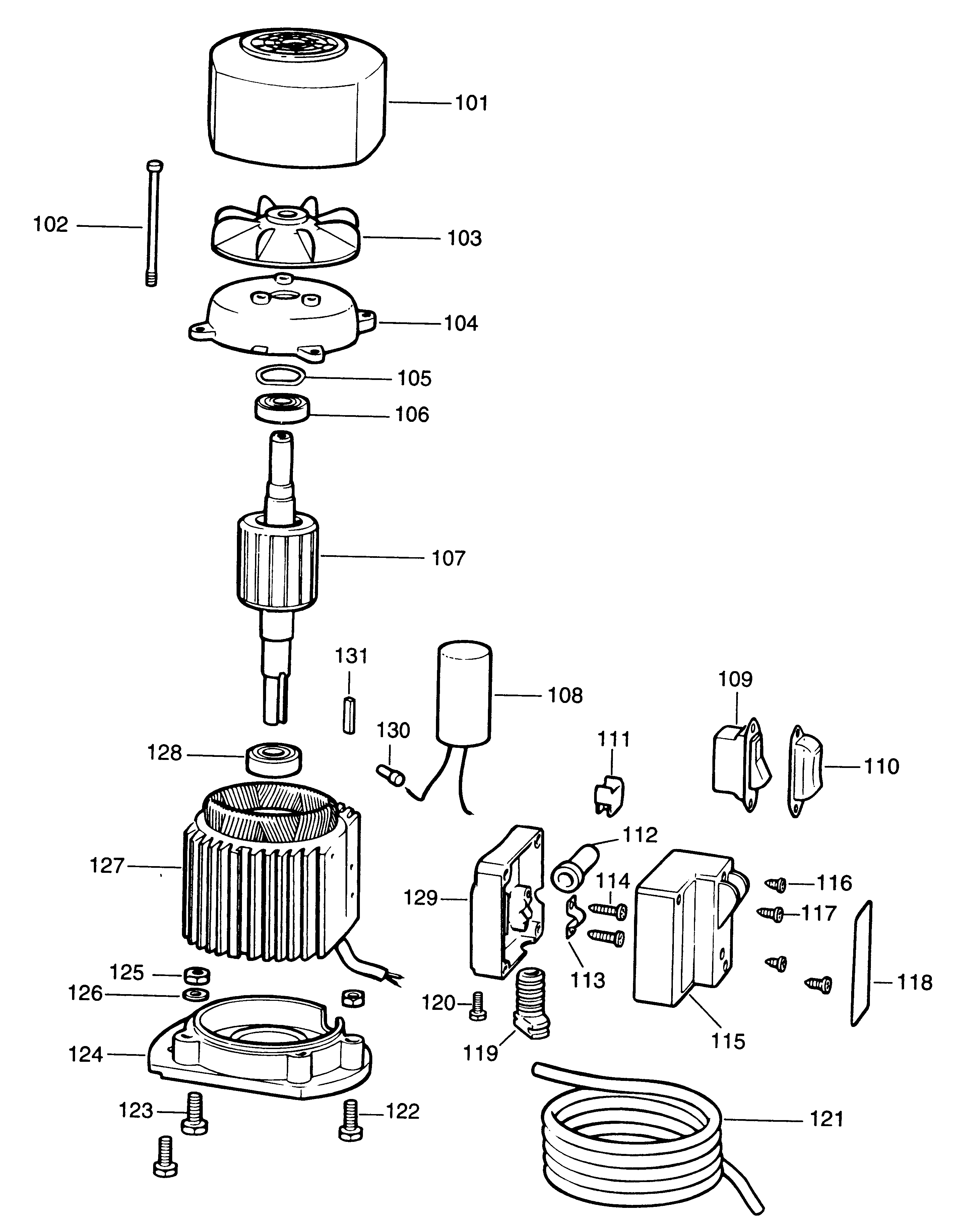
101
102
103
104
105
106
107
107
108
109
109
110
111
113
114
115
116
117
119
120
121
121
122
123
124
125
126
127
127
128
129
130
131
56 części
Sortuj
Poz.
Nr kat.
Nazwa
Cena brutto
Ilość
Zamów
1
863771-00
Taśma
Zapytaj
1 szt.
—
3
32234
Grupa Zasysająca
Zapytaj
1 szt.
—
4
132242
Wentylator
Zapytaj
1 szt.
—
5
949853-05
Śruba
Zapytaj
1 szt.
—
6
860073-03
Podkładka M8
7,00 zł
1 szt.
—
7
860083-04
Nakrętka
7,00 zł
1 szt.
—
8
32662
Kołnierz
Zapytaj
1 szt.
—
9
860084-21
Śruba
7,00 zł
1 szt.
—
10
949700-01
BAND TUBE 120mm
Zapytaj
1 szt.
—
11
863628-00
Rura
Zapytaj
1 szt.
—
12
860875-00
Reductor
Zapytaj
1 szt.
—
13
11715
Taśma
Zapytaj
1 szt.
—
14
132673
Rura
Zapytaj
1 szt.
—
15
32203
Burta Prawa
Zapytaj
1 szt.
—
21
11796
Kołpak
Zapytaj
1 szt.
—
22
860763-00
Płyta
Zapytaj
1 szt.
—
23
860888-04
Spód Worka
18,00 zł
1 szt.
—
24
863852-01
Stopa
Zapytaj
1 szt.
—
31
34552
Góra Worka
Zapytaj
1 szt.
—
32
869235-00
Zestaw Kluczy
57,00 zł
1 szt.
—
33
860085-03
Śruba
7,00 zł
1 szt.
—
34
860085-15
Śruba
7,00 zł
1 szt.
—
35
860073-14
Podkładka
7,00 zł
1 szt.
—
101
860445-00
Pokrywa
27,00 zł
1 szt.
—
102
863119-00
Pręt Cięgna
27,00 zł
1 szt.
—
103
860444-00
Wentylator
21,00 zł
1 szt.
—
104
860443-00
Zakończenie
57,00 zł
1 szt.
—
105
860080-02
Pierścień
7,00 zł
1 szt.
—
106
868768-07
Łożysko
34,00 zł
1 szt.
—
107
196999
Wirnik 3 Fazowy
Zapytaj
1 szt.
—
107
197252
Wirnik 1 Fazowy
Zapytaj
1 szt.
—
108
44755
Kondensator
Zapytaj
1 szt.
—
109
949780-07
Przełącznik 3 Ph
Zapytaj
1 szt.
—
109
860706-00
Przełącznik 1 Ph
Zapytaj
1 szt.
—
110
862451-00
Kołpak
Zapytaj
1 szt.
—
111
44617
Złącze
Zapytaj
1 szt.
—
113
11791
Płyta Dociskowa
Zapytaj
1 szt.
—
114
330045-05
Śruba
7,00 zł
1 szt.
—
115
31780
Pokrywa
Zapytaj
1 szt.
—
116
11271
Śruba
Zapytaj
1 szt.
—
117
860084-13
Śruba
Zapytaj
1 szt.
—
119
31873
Wlot
Zapytaj
1 szt.
—
120
949894-06
Śruba
7,00 zł
1 szt.
—
121
949863-23
Przewód - Podzespół
245,00 zł
1 szt.
—
121
945640-00
Przewód
Zapytaj
1 szt.
—
122
11144
Śruba
Zapytaj
1 szt.
—
123
860085-19
Śruba
7,00 zł
1 szt.
—
124
76562
Kalota Czołowa
Zapytaj
1 szt.
—
125
860083-04
Nakrętka
7,00 zł
1 szt.
—
126
860073-03
Podkładka M8
7,00 zł
1 szt.
—
127
197188
Stojan - Podzespół
Zapytaj
1 szt.
—
127
197189
Stojan - Podzespół
Zapytaj
1 szt.
—
128
861721-12
Łożysko
18,00 zł
1 szt.
—
129
31762
Skrzynka
Zapytaj
1 szt.
—
130
44042
Złącze
Zapytaj
1 szt.
—
131
11631
Klucz
Zapytaj
1 szt.
—