Części
Maszyny
Kontakt
Home
Maszyny
Narzędzia
DeWalt
Narzędzie
EMD403-Type-1 -
Narzędzie DeWalt
100%
Poz:
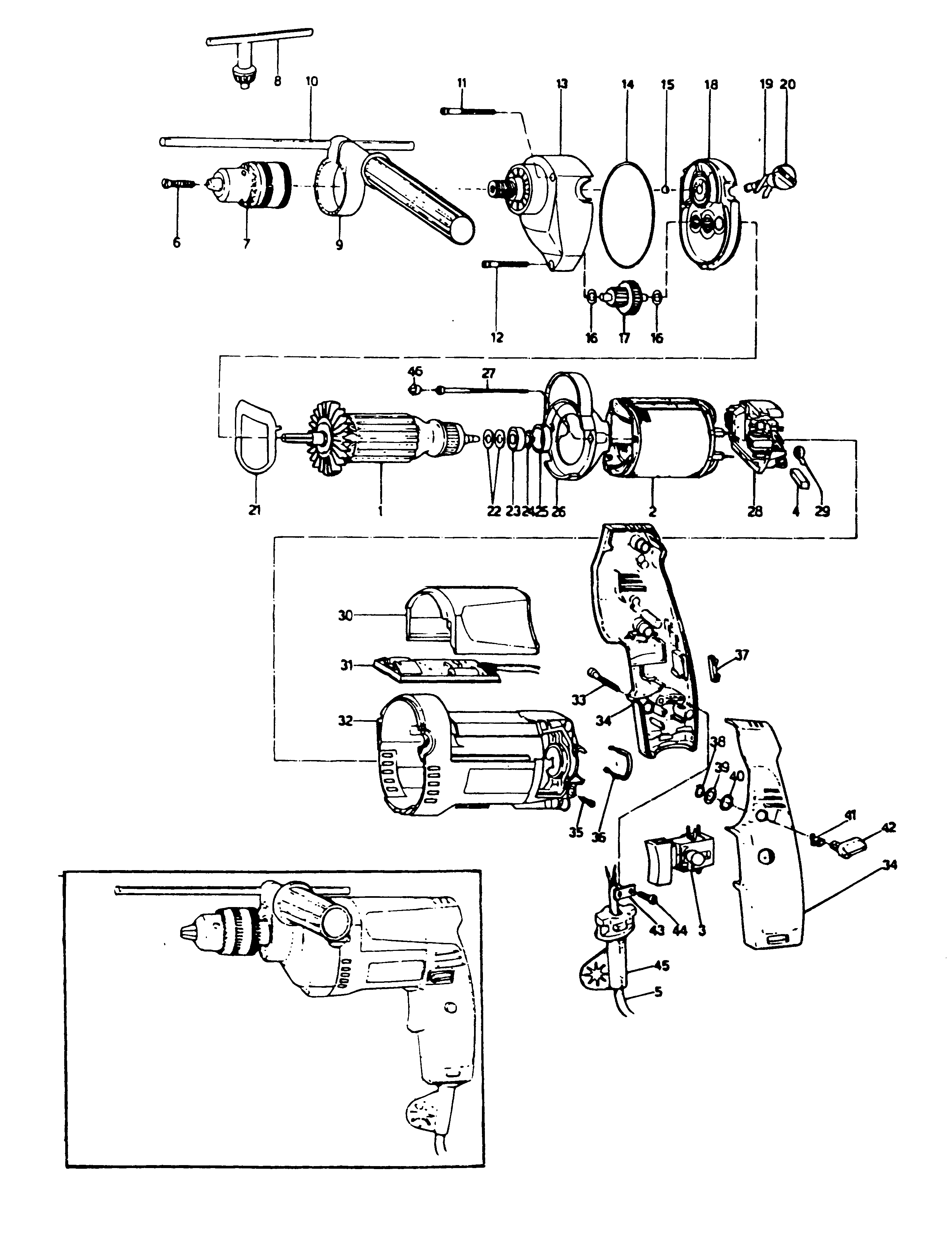
1
1
2
2
3
4
4
5
5
6
6
7
7
8
9
10
11
12
13
14
15
16
17
18
19
20
21
22
23
24
25
26
27
28
29
30
31
31
32
33
34
35
36
37
38
39
40
41
42
43
44
45
46
53 części
Sortuj
Poz.
Nr kat.
Nazwa
Cena brutto
Ilość
Zamów
1
932954
Twornik
Zapytaj
1 szt.
—
1
932955
Twornik
Zapytaj
1 szt.
—
2
934020
Pole
Zapytaj
1 szt.
—
2
934022
Pole
Zapytaj
1 szt.
—
3
938237
Wyłącznik
Zapytaj
1 szt.
—
4
930802-00
Szczotka
34,00 zł
1 szt.
—
4
930760-00
Szczotka 230V
7,00 zł
1 szt.
—
5
949770-06
Przewód I Wtyczka
Zapytaj
1 szt.
—
5
330061-07
Przewód - Podzespół
Zapytaj
1 szt.
—
6
945013-00
Śruba
7,00 zł
1 szt.
—
6
949890-02
Śruba
Zapytaj
1 szt.
—
7
930010
Uchwyt
Zapytaj
1 szt.
—
7
5140071-68
Uchwyt Wiertarski 13Mm
51,00 zł
1 szt.
—
8
330034-07
Kluczyk Wiertarski
8,00 zł
1 szt.
—
9
930281
Uchwyt - Podzespół
Zapytaj
1 szt.
—
10
930101
Ogranicznik Głębokości
Zapytaj
1 szt.
—
11
931298
Śruba
Zapytaj
1 szt.
—
12
931297-00
Śruba
9,00 zł
1 szt.
—
13
932964
Skrzynka Przekładni - Podzespół
Zapytaj
1 szt.
—
14
931286
Uszczelniacz
Zapytaj
1 szt.
—
15
930012
Kulka
Zapytaj
1 szt.
—
16
930102-00
Podkładka
Zapytaj
1 szt.
—
17
939802
Przekładnia I Wałek Zębaty - Podzespół
Zapytaj
1 szt.
—
18
939803
Pokrywa Skrzynki Przekładni - Podzespół
Zapytaj
1 szt.
—
19
933021
Sprężyna
Zapytaj
1 szt.
—
20
936418
Dźwignia - Podzespół
Zapytaj
1 szt.
—
21
935678
Sprężyna
Zapytaj
1 szt.
—
22
932933-00
Podkładka
Zapytaj
1 szt.
—
23
330003-02
Łożysko
Zapytaj
1 szt.
—
24
939624-00
Pierścień
Zapytaj
1 szt.
—
25
930029-00
Uchwyt Bearing
7,00 zł
1 szt.
—
26
932934
Przegroda
Zapytaj
1 szt.
—
27
930752-00
Śruba
Zapytaj
1 szt.
—
28
940127
Uchwyt Szczotki 240V
Zapytaj
1 szt.
—
29
930090-00
Sprężyna Szczotki
Zapytaj
1 szt.
—
30
938241-00
Pokrywa
Zapytaj
1 szt.
—
31
937484
Electronic 115V
Zapytaj
1 szt.
—
31
937483
Electronic 240V
Zapytaj
1 szt.
—
32
938890-00
Skrzynka Pola
Zapytaj
1 szt.
—
33
930079-01
Śruba
Zapytaj
1 szt.
—
34
938239-00
Uchwyt - Podzespół
Zapytaj
1 szt.
—
35
931254-00
Śruba
Zapytaj
1 szt.
—
36
932930
Pierścień
Zapytaj
1 szt.
—
37
930187
Złącze
Zapytaj
1 szt.
—
38
940131
Pierścień
Zapytaj
1 szt.
—
39
941351
Podkładka
Zapytaj
1 szt.
—
40
940132
Podkładka
Zapytaj
1 szt.
—
41
939464
Sprzęgło
Zapytaj
1 szt.
—
42
940133
Dźwignia
Zapytaj
1 szt.
—
43
930103-00
Zacisk Przewodu
7,00 zł
1 szt.
—
44
930276
Śruba
Zapytaj
1 szt.
—
45
938498
Osłona Przewodu
Zapytaj
1 szt.
—
46
933657-00
Kołpak
Zapytaj
1 szt.
—