Części
Maszyny
Kontakt
Home
Maszyny
Młot udarowo-obrotowy
Bosch
MŁOT UDAROWO-OBROTOWY BMH 40-XE
0611241768 -
MŁOT UDAROWO-OBROTOWY Bosch BMH 40-XE
100%
Poz:
1
2
4
6
7
9
13
14
15
21
22
23
25
26
27
28
31
34
37
38
42
43
44
47
48
53
57
72
74
75
79
80
81
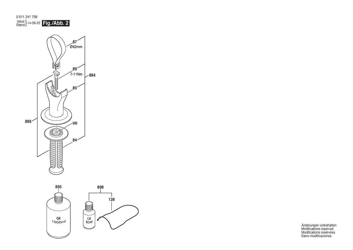
84
85
86
87
94
95
97
99
102
104
111
112
113
116
117
121
124
126
138
141
142
143
144
145
154
160
162
163
165
167
171
172
174
175
177
192
195
198
200
202
203
803
805
806
808
811
816
817
818
821
830
835
840
841
849
854
856
860
873
884
886
891
895
897
898
98 części
Sortuj
Poz.
Nr kat.
Nazwa
Cena brutto
Ilość
Zamów
1
1615102156
Kadłub Silnika
85,24 zł
1 szt.
—
2
1614220123
Stojan
153,00 zł
1 szt.
—
4
1617200101
Wyłącznik
92,00 zł
1 szt.
—
6
1600703035
Końcówka
13,00 zł
1 szt.
—
7
1601302018
Zacisk Mocujący
9,00 zł
1 szt.
—
9
1611110F27
Tabliczka Firmy
Zapytaj
2 szt.
—
13
1610900026
Łożysko Kulkowe Zwykłe
44,00 zł
1 szt.
—
14
1610905041
Łożysko Kulkowe Zwykłe
39,00 zł
1 szt.
—
15
1616610090
Wentylator
44,00 zł
1 szt.
—
21
1610508038
Kołpak Ochronny
25,00 zł
1 szt.
—
22
1610591027
Tuleja Ochronna
25,00 zł
1 szt.
—
23
1610520001
Tuleja Zderzakowa
44,00 zł
1 szt.
—
25
1612300036
ELEMENT BLOKADY
39,00 zł
2 szt.
—
26
1610290076
TARCZA WŁĄCZAJĄCA
25,00 zł
1 szt.
—
27
1610591028
Pierścień Kier. Powietrza
12,00 zł
1 szt.
—
28
1614621000
Sprężyna Dociskowa
13,00 zł
1 szt.
—
31
1610290049
Pierscień Tłumiący
13,00 zł
1 szt.
—
34
1610516013
Kołnierz
9,00 zł
1 szt.
—
37
1615500337
Kozioł Łożyskowy
Zapytaj
1 szt.
—
38
1615190113
Pokrywa
59,00 zł
1 szt.
—
42
1614336046
Uchwyt Szczotek
140,00 zł
1 szt.
—
43
1615500410
Pokrywa Wentylatora
49,00 zł
1 szt.
—
44
1614617003
Sprężyna Dociskowa
11,00 zł
1 szt.
—
47
1610300064
TULEJA ZĘBATA
25,00 zł
1 szt.
—
48
1616334012
Pierścień Załączający
21,00 zł
1 szt.
—
53
1610290068
Tarcza Łożyskowa
15,00 zł
1 szt.
—
57
1618710074
Bijak
92,00 zł
1 szt.
—
72
1600A014S8
Koło Zębate Mimośrodu
153,00 zł
1 szt.
—
74
1611921001
Płyta Prowadząca
12,00 zł
1 szt.
—
75
1615132095
Rękojeść
Zapytaj
1 szt.
—
79
1613435015
Wkręt Soczewkowy Torx
9,00 zł
2 szt.
—
80
1617233032
Regulator Prędk. Obrotow.
281,00 zł
1 szt.
—
81
1615132088
Uchwyt Miski
84,00 zł
1 szt.
—
84
160202507H
Uchwyt Dodatkowy
39,00 zł
1 szt.
—
85
1618040074
Uchwyt Zaciskowy
Zapytaj
1 szt.
—
86
1613490002
Nitowkręt
9,59 zł
1 szt.
—
87
1611316019
Taśma Zawiesz. Z Naciąg.
17,00 zł
1 szt.
—
94
1610102056
Podkładka Oporowa
13,00 zł
2 szt.
—
95
1610210173
Pierścień Samouszczeln.
11,00 zł
1 szt.
—
97
1610031005
Podkładka Zabezpieczająca
15,00 zł
1 szt.
—
99
1610102059
Tarcza Łożyskowa
12,00 zł
1 szt.
—
102
1610102057
Podkładka Regulacyjna
9,00 zł
1 szt.
—
104
1610210160
Pierścień Samouszczeln.
15,00 zł
1 szt.
—
111
1610290064
Tuleja Łożyskowa
9,00 zł
1 szt.
—
112
1613300008
Nakrętka Sześciokątna
12,00 zł
1 szt.
—
113
1613435009
Wkręt Do Blach
9,00 zł
2 szt.
—
116
1610311017
Pierścień Wewnętrzny
25,00 zł
1 szt.
—
117
1610913029
Wieniec Iglic
17,00 zł
2 szt.
—
121
1610328019
Tuleja Łożyskowa
59,00 zł
1 szt.
—
124
1619P10303
Tulejka Z Wieńcem
16,85 zł
1 szt.
—
126
2910211019
Wkręt Do Blach
8,00 zł
1 szt.
—
138
1611015053
Rama Uszczelniająca
36,00 zł
1 szt.
—
141
1610290066
PIERŚCIEN USZCZELNIAJĄCY
34,00 zł
1 szt.
—
142
1610290069
PIERŚCIEN USZCZELNIAJĄCY
22,00 zł
1 szt.
—
143
1614601021
Pierścień Sprężysty
25,00 zł
1 szt.
—
144
1610251006
Tarcza Oporowa
22,00 zł
1 szt.
—
145
1610119012
Pierścień Zabezpieczajacy
12,00 zł
1 szt.
—
154
2916660023
Pierścień Zabezpieczajacy
21,00 zł
1 szt.
—
160
1610210161
Pierscień Tłumiący
13,00 zł
1 szt.
—
162
1610210163
Pierścień Samouszczeln.
22,00 zł
1 szt.
—
163
1610290065
Pierścień Uszczelniający
34,00 zł
1 szt.
—
165
1610210079
Pierścień Samouszczeln.
21,00 zł
1 szt.
—
167
1610283033
PIERŚCIEN USZCZELNIAJĄCY
25,00 zł
1 szt.
—
171
1613435016
Wkręt Soczewkowy Torx
11,00 zł
6 szt.
—
172
1613435013
Wkręt Soczewkowy Torx
11,00 zł
4 szt.
—
174
1613435012
Wkręt Soczewkowy Torx
11,00 zł
6 szt.
—
175
2912401018
Wkręt Do Blach
8,00 zł
2 szt.
—
177
1603435051
Wkręt Do Blach
11,00 zł
2 szt.
—
192
1614611019
Sprężyna Dociskowa
12,00 zł
1 szt.
—
195
1613435020
Wkręt Soczewkowy Torx
Zapytaj
2 szt.
—
198
1618900001
Dźwignia Zmiany Biegów
22,00 zł
1 szt.
—
200
1610284000
Osłona Mieszkowa
36,00 zł
1 szt.
—
202
1611010006
ZACZEP
21,00 zł
2 szt.
—
203
1610322011
Tarcza Łożyskowa
Zapytaj
2 szt.
—
803
1614011098
Twornik
405,00 zł
1 szt.
—
805
1617000723
Przewód Zasil. Sieciowy
105,00 zł
1 szt.
—
806
3604477009
Tuleja Końcowa Żyły
12,00 zł
2 szt.
—
808
160111A3H5
Tabliczka Znamionowa
12,00 zł
1 szt.
—
811
1617014144
Zestaw Szczotek Węglowych
59,00 zł
1 szt.
—
816
1609271281
Śruba Z Łbem Walcowym
8,00 zł
2 szt.
—
817
1614652004
Sprężyna Spiralna
31,00 zł
2 szt.
—
818
2910011082
Śruba Z Łbem Walcowym
8,00 zł
2 szt.
—
821
1617000842
Tuleja Łożyskowa
84,00 zł
1 szt.
—
830
1617000478
Tarcza Oporowa
31,00 zł
1 szt.
—
835
1617000433
CYLINDER
Zapytaj
1 szt.
—
840
1617000863
KORPUS MECHANIZMU UDARU
Zapytaj
1 szt.
—
841
1617000460
IGLICA
92,00 zł
1 szt.
—
849
1617000839
Widełki Przełącz. Biegów
92,00 zł
1 szt.
—
854
1617000461
Podkładka Regulacyjna
66,00 zł
1 szt.
—
856
1617000843
TŁOK
74,00 zł
1 szt.
—
860
1607000F00
SPRZĘGŁO CZOŁOWE
178,00 zł
1 szt.
—
873
1617000871
Pokrywa Obudowy
Zapytaj
1 szt.
—
884
1607000F30
Uchwyt Dodatkowy
105,00 zł
1 szt.
—
886
1617000459
Uchwyt Dodatkowy
49,00 zł
1 szt.
—
891
1617000878
Pakiet Sprężyn
Zapytaj
1 szt.
—
895
1615430019
Zbiornik Oleju
198,00 zł
1 szt.
—
897
1617000430
KPL. CZĘSCI
126,00 zł
1 szt.
—
898
1615437511
Zbiornik Oleju
49,00 zł
1 szt.
—