Części
Maszyny
Kontakt
Home
Maszyny
Krajarka
Bosch
KRAJARKA AXT 23 TC
3600H03270 -
KRAJARKA Bosch AXT 23 TC
100%
Poz:
9
21
22
23
24
25
26
27
29
31
32
35
36
37
38
39
40
41
42
43
44
45
46
47
48
49
50
5/1
51
5/2
52
5/3
53
54
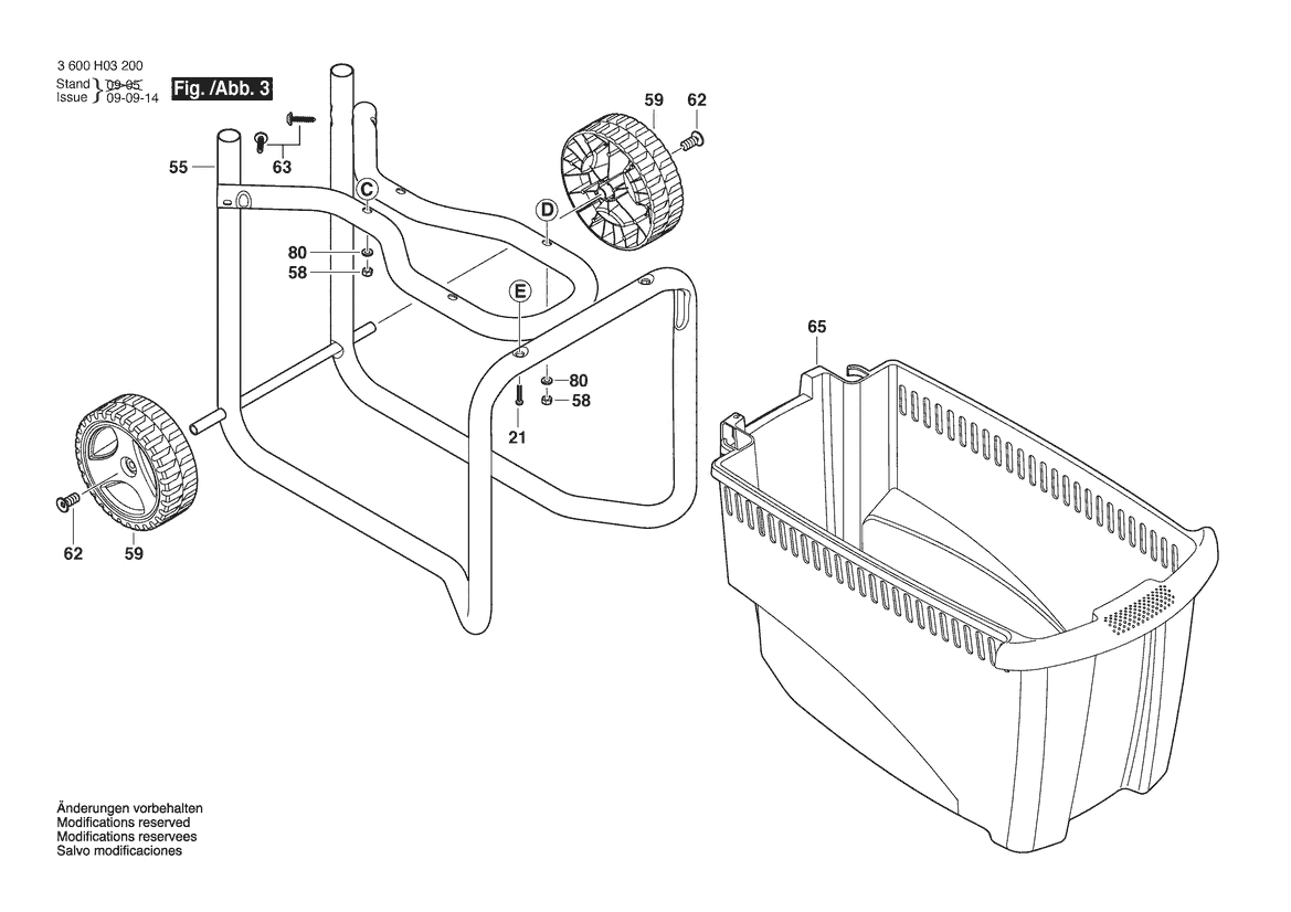
55
56
57
58
59
60
61
62
63
65
66
68
69
70
71
72
76
77
80
2/1/3
2/1/4
2/1/8
2/1/9
2/2/6
801
802
804
805
807
808
816
820
2/1/10
2/1/13
2/1/14
2/1/15
2/1/17
2/1/19
2/1/22
2/1/23
2/1/24
2/1/25
2/1/26
2/1/27
2/1/28
2/1/29
2/1/30
2/1/31
2/1/36
2/1/37
2/1/38
2/1/39
2/1/73
2/1/78
2/1/81
89 części
Sortuj
Poz.
Nr kat.
Nazwa
Cena brutto
Ilość
Zamów
9
2609003152
Tabliczka Firmy
12,00 zł
2 szt.
—
21
2603490024
Wkręt Soczewkowy Torx
9,00 zł
17 szt.
—
22
2609002554
Obudowa
Zapytaj
1 szt.
—
23
2609002555
Górna Część Obudowy
Zapytaj
1 szt.
—
24
2609004513
OBUDOWA (CZĘŚĆ TYLNA)
74,00 zł
1 szt.
—
25
2609002557
Klapa
Zapytaj
1 szt.
—
26
2609003144
Sprężyna
9,00 zł
1 szt.
—
27
2609002795
Trzpień
11,00 zł
1 szt.
—
29
2609002791
Trzpień
25,00 zł
1 szt.
—
31
2916640005
Pierścień Zabezpieczajacy
8,00 zł
3 szt.
—
32
2609004515
Guzik
11,00 zł
1 szt.
—
35
2609002804
Guzik
Zapytaj
1 szt.
—
36
2609002805
Oczko Przyłączeniowe
Zapytaj
1 szt.
—
37
2609002806
Trzpień
8,00 zł
1 szt.
—
38
2609003539
Śruba Nastawcza
Zapytaj
1 szt.
—
39
2609002754
Pierścień
Zapytaj
1 szt.
—
40
2609003140
Zamocowanie
5,29 zł
1 szt.
—
41
2609003399
Kołpak
9,00 zł
1 szt.
—
42
2609003400
Kołpak
9,00 zł
1 szt.
—
43
2609003401
Kołpak
9,00 zł
1 szt.
—
44
2609002755
Poduszka Gumowa
44,00 zł
1 szt.
—
45
2609003076
Płyta Osłaniająca
12,00 zł
1 szt.
—
46
2603413035
Wkręt Soczewkowy
8,00 zł
1 szt.
—
47
2609004519
Obudowa gniazda wtykowego
15,00 zł
1 szt.
—
48
2609005130
Przekaźnik
44,00 zł
1 szt.
—
49
2609003540
Styk Typu Reed
74,00 zł
1 szt.
—
50
2609004603
Drąg wahacza
12,00 zł
1 szt.
—
5/1
2609003515
Zestaw Kabli
198,00 zł
1 szt.
—
51
2609002846
Trzpień
21,00 zł
1 szt.
—
5/2
2609003145
Wyłącznik
31,00 zł
1 szt.
—
52
2609002847
Sprężyna
8,00 zł
1 szt.
—
5/3
2609003517
WAHACZ WYLĄCZNIKA
31,00 zł
1 szt.
—
53
2609002793
Kołek Sprężysty
8,00 zł
2 szt.
—
54
1600A020TT
Kołek Sprężysty
8,00 zł
1 szt.
—
55
2609004243
RAMKA
281,00 zł
1 szt.
—
56
2609003267
Kołek Ustalający
21,00 zł
2 szt.
—
57
2609003268
Kołek Ustalający
22,00 zł
2 szt.
—
58
2609003551
Nakrętka
9,00 zł
4 szt.
—
59
2609003159
Koło
36,00 zł
2 szt.
—
60
2603490027
Wkręt Soczewkowy Torx
8,00 zł
6 szt.
—
61
2916011892
Podkładka
8,00 zł
6 szt.
—
62
F016L64669
Trzpień Trzymający
9,00 zł
2 szt.
—
63
2609003552
Śruba Do Gwint. Bezwiórk.
8,00 zł
2 szt.
—
65
2609006904
POCHŁANIACZ
153,00 zł
1 szt.
—
66
2609002752
Suwak
25,00 zł
1 szt.
—
68
2609003622
Uchwyt
Zapytaj
1 szt.
—
69
2609002685
TABLICZKA Z LOGO FIRMY
25,00 zł
1 szt.
—
70
2609002562
Magazynek
Zapytaj
1 szt.
—
71
2609002564
SZYB
Zapytaj
1 szt.
—
72
2609002799
Magnes
17,00 zł
2 szt.
—
76
2916030006
Tarcza Zębata
8,00 zł
1 szt.
—
77
2609003683
Sprężyna Dociskowa
9,00 zł
3 szt.
—
80
2610386712
Szyba
12,00 zł
6 szt.
—
2/1/3
2609003824
Śruba
8,00 zł
8 szt.
—
2/1/4
2609003825
Podkładka Sprężysta
8,00 zł
8 szt.
—
2/1/8
2609003828
Płyta Łącząca
44,00 zł
1 szt.
—
2/1/9
2609003829
Płyta
25,00 zł
1 szt.
—
2/2/6
2609004197
Pierścień Samouszczeln.
8,00 zł
2 szt.
—
801
2609004913
Łożysko
281,00 zł
1 szt.
—
802
2609004911
Silnik Elektryczny
Zapytaj
1 szt.
—
804
1600A00H67
El. Podzespół
281,00 zł
1 szt.
—
805
2609004916
Blacha Przewodząca
105,00 zł
1 szt.
—
807
2609003827
Śruba
9,00 zł
1 szt.
—
808
2609003522
Tabliczka Znamionowa
Zapytaj
1 szt.
—
816
2609004989
Zawleczka
11,00 zł
1 szt.
—
820
2609006274
WAŁEK
126,00 zł
1 szt.
—
2/1/10
2609003830
Śruba
8,00 zł
4 szt.
—
2/1/13
2609004198
Pierścień Zabezpieczajacy
8,00 zł
1 szt.
—
2/1/14
2609003833
Obudowa
281,00 zł
1 szt.
—
2/1/15
2609003834
Wkładka
22,00 zł
1 szt.
—
2/1/17
2609003836
Łożysko Kołnierzowe
54,00 zł
1 szt.
—
2/1/19
2609003838
Pierścień Uszczelniający
8,00 zł
1 szt.
—
2/1/22
2609003841
Łoż. Z Materiału Sinter.
9,00 zł
1 szt.
—
2/1/23
2609003842
KOŁO PLANETARNE
74,00 zł
3 szt.
—
2/1/24
2609003843
Szyba
12,00 zł
1 szt.
—
2/1/25
2609003844
Płyta Napędu
Zapytaj
1 szt.
—
2/1/26
2609003845
Trzpień
8,00 zł
2 szt.
—
2/1/27
2609003846
Wspornik Przekł. Planet.
44,00 zł
1 szt.
—
2/1/28
2609003847
Zębnik
Zapytaj
1 szt.
—
2/1/29
2609003848
Łożysko Igiełkowe
11,00 zł
1 szt.
—
2/1/30
2609003849
KOŁO PLANETARNE
54,00 zł
2 szt.
—
2/1/31
2609003850
Pierścień Zabezpieczajacy
8,00 zł
2 szt.
—
2/1/36
2609003854
Wentylator
34,00 zł
1 szt.
—
2/1/37
2609003855
Pierścień Zabezpieczajacy
8,00 zł
1 szt.
—
2/1/38
2609002792
Element Zaciskowy
Zapytaj
1 szt.
—
2/1/39
2609007667
Kondensator Silnika
84,00 zł
1 szt.
—
2/1/73
2609002763
Nóż turbinowy
462,00 zł
1 szt.
—
2/1/78
2910400244
Śr.Z Łb.Okr.O Gnieź.Sześ.
8,00 zł
4 szt.
—
2/1/81
2609003315
Podkładka Zabezpieczająca
8,00 zł
4 szt.
—